Trémie réceptrice

Trémie réceptrice VÖGELE

Les caoutchoucs d’origine de VÖGELE pour la trémie réceptrice empêchent l’asphalte de tomber du finisseur lors du remplissage. Les kits service pour la trémie réceptrice contiennent toutes les pièces d’usure nécessaires pour la maintenance rapide et efficace de la machine.

Clapet d’alimentation hydraulique et tabliers frontaux latéraux

Tabliers frontaux

Clapets frontaux ouverts

Clapets frontaux fermés

Un clapet frontal se trouve sur chaque paroi de trémie et un clapet d’alimentation se trouve au centre de la trémie.

Lorsque l’enrobé a été transféré du camion dans le finisseur, le conducteur relève les tabliers frontaux ou le clapet d’alimentation central à l’aide d’un bouton, pour que la trémie réceptrice soit entièrement vidée, sans résidus.

Clapet d’alimentation mécanique

Options pour le clapet d’alimentation

Clapet d’alimentation hydraulique

Sur les clapets d'alimentation hydrauliques, le clapet central est commandé séparément à l’aide d’un vérin hydraulique et peut être relevé à l'aide d’un sélecteur situé sur le pupitre de commande. Si le clapet d’alimentation central est relevé, les tabliers frontaux latéraux se relèvent indépendamment des parois de la trémie.

Clapet d’alimentation mécanique

Sur les clapets d’alimentation mécaniques, seuls les deux tabliers frontaux situés sur les parois de la trémie se relèvent dès qu’on les remonte.

Maintenance : Clapet d’alimentation et tablier frontal latéral

  • Après chaque utilisation, retirer les restes d’enrobé sur et sous le clapet d’alimentation et les tabliers frontaux latéraux.
  • Contrôler la praticabilité et la présence éventuelle de zones déformées sur le clapet d’alimentation et les tabliers frontaux latéraux.
  • Contrôler le vérin hydraulique à la recherche de colmatage et de fuites éventuelles.

Caoutchoucs de la paroi de trémie usés

Tablier frontal déformé sur le côté

Paroi de trémie

Les deux parois de trémie peuvent être relevées ou abaissées par un système hydraulique, indépendamment l’une de l’autre. Ceci garantit le transport de l’enrobé vers le centre, sur les bandes à raclettes.

La vidange complète de la trémie permet d’empêcher le refroidissement de l’enrobé.

Les joints en caoutchouc placés sur les parois de trémie et les tabliers frontaux empêchent l’enrobé de sortir involontairement de la trémie et de s’écouler sur le sol ou sur les rouleaux-pousseurs.

Maintenance des parois de la trémie

  • Nettoyer les parois de la trémie après chaque utilisation.
  • Contrôler la praticabilité et le bon fonctionnement des parois de trémie et les vérins adjacents.
  • Contrôler régulièrement le déflecteur pour s’assurer qu’il est réglé correctement (fermeture étanche).

Usure de la paroi de trémie

Caoutchoucs

Remplacer les caoutchoucs endommagés ou enlevés sur le claper d'alimentation et les clapets frontaux.

Cordons de soudure

Contrôler les cordons de soudure au niveau de la charnière entre la paroi de trémie et le châssis et réparer les fissures existantes.

Dessous de la paroi de trémie

Contrôler la soudure entre la tôle servant au logement de la tige de piston du vérin et la paroi latérale de trémie à la recherche d’éventuelles fissures ou détériorations.

Déflecteurs

Des déflecteurs se trouvent sur l’intérieur des parois de trémie. Ils servent une fonction d’étanchéité entre les parois de trémie et la paroi avant de la machine.

Ces déflecteurs empêchent le matériau de couler derrière les parois de trémie, de coller et d’en empêcher la mobilité. L’espace devrait être réglé à maximum 0,5 cm.

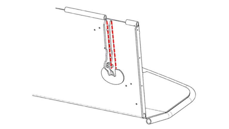
Réglage du déflecteur sur les parois de trémie

Pour régler le déflecteur de la trémie réceptrice, desserrer les vis indiquées par la flèche :

1. Positionner la plaque avec une distance minime (environ 0,5 cm par rapport à la paroi arrière/le long des pointillés rouges)
2e Serrer les vis
3. Répéter l’opération pour les deux côtés

Convoiement du matériau VÖGELE

Acheter en ligne des pièces d’origine de VÖGELE pour le convoiement du matériau.

Voir le convoiement du matériau VÖGELE
En savoir plus sur le thème du convoiement du matériau
Retour à la vue synoptique